
CQB型磁力驅動泵
-
質量穩定:全程質量監控,細致入微,全方位檢測,保證產品質量!
-
交貨快捷:先進生產流水線,備貨充足,常規產品全部倉庫現貨供應!
-
專業定制:高級工程師專業選型報價,各種材質非標產品皆可洽談定做!
- 產品概述
- 性能參數
- 適用范圍
- 安裝尺寸
- 文檔下載
CQB型磁力驅動泵--產品概述
CQB型磁力驅動泵是磁力泵全國聯合設計組開發的新型完全無泄漏耐腐蝕泵,其技術經濟指標與國外同類產品 八十年代末的水平相當,是CQ型泵的補充和改進。 主要特點 該泵過流部份采用全不銹鋼材料,對有機酸,有機化合物,堿,中性溶液和多種氣體都有良好的耐蝕性,雙螺旋槽碳 石墨軸承和硬質合金軸套的磨合,具有較強的耐磨性,保證了產品的壽命,是無泄漏輸送腐蝕性介質的理想泵。 全國磁力泵聯合設計的優化產品,可以直接取代IH型化工流程泵。
CQB型磁力驅動泵--型號意義
CQB型磁力驅動泵--安裝與使用
1、CQB型磁力驅動泵應水平安裝,不宜豎立,塑料泵體不得承受管路重量,對于特殊要求垂直安裝的場合,電機務必朝上。
2、當抽吸液面高于泵軸心線時,起動前打開吸入管道閥門即可,若抽吸液面低于泵軸心線時,管道需配備底閥。
3、CQB型磁力驅動泵使用前應進行檢查,電機風葉轉動要靈活,無卡住無異常聲響,各緊固件要緊固。
4、檢查電機旋轉方向是否與磁力泵轉向標記一致。
5、電機啟動后,緩慢打開排出閥,待泵進入正常工作狀態后,再將排出閥調到所需開度。
6、CQB型磁力驅動泵停止工作前,應先關閉排出閥門,然后關閉吸入管閥門。
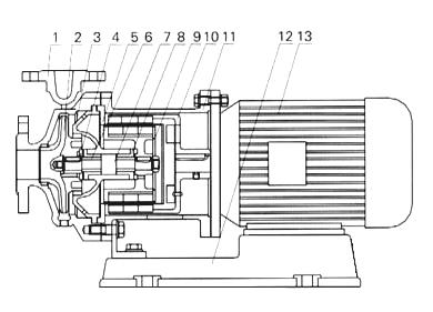
CQB型磁力驅動泵--結構圖

1 | 泵體 | 2 | 葉輪 | 3 | 軸承體 | 4 | 止推環 | 5 | 隔離套 | 6 | 軸套 | 7 | 泵軸 |
| 8 | 軸承 | 9 | 內磁鋼總成 | 10 | 外磁鋼總成 | 11 | 聯接架 | 12 | 底座 | 13 | 電機 |
CQB型磁力驅動泵--注意事項
1、因磁力泵軸承的冷卻和潤滑是靠被輸送的介質,所以絕對禁止空動轉,同時避免在工作中途停電后再啟動 時所造成時空載運轉。
2、被輸送介質中,若含有固體顆粒,泵入口要加過濾網:如含有鐵磁質微粒,需加磁性過濾器。
3、CQB型磁力驅動泵在使用中環境溫度應小于40℃,電機溫升不得超過75℃。
4、被輸送的介質及其溫度應在泵材允許范圍內(詳見附表)。工程塑料泵的使用溫度<60℃,金屬泵的使用 溫 度<100℃,輸送吸入 壓力不大于0.2mpa,最大工作壓力1.6mpa、密度不大于1600kg/m3,粒度不大于30 × 10-6m2/s的不含硬顆粒和纖維的液體。
5、對于輸送液為易沉淀結晶的介質,使用后應及時清洗,排凈泵內積液。
6、磁力驅動泵運行100小時后,應拆檢軸承和端面動環的磨損情況,并更換不宜再用的易損件。
7、CQB型磁力驅動泵內外磁性聯軸器采用高性能永磁材料,可能對下列器件產生潛在危害,請將下列器件與本系列泵 保持距離。如:心臟起博器,信用卡及其它磁卡、計算器、計算機磁盤、手表等。
型號 | 流量 (m3/h) | 揚程 (m) | 轉速 (r/min) | 功率 (kw) |
CQB32-20-125 | 3.2 | 20 | 1.1 | |
CQB32-20-160 | 32 | 1.5 | ||
CQB40-25-105 | 6.3 | 12.5 | 1.1 | |
CQB40-25-125 | 20 | 2.2 | ||
CQB40-25-160 | 32 | 3 | ||
CQB40-25-200 | 50 | 5.5 | ||
CQB50-40-85 | 12.5 | 8 | 1.1 | |
CQB50-32-105 | 12.5 | 1.5 | ||
CQB50-32-125 | 20 | 3 | ||
CQB50-32-160 | 32 | 4 | ||
CQB50-32-200 | 50 | 7.5 | ||
CQB50-32-250 | 80 | 18.5 | ||
CQB65-50-125 | 25 | 20 | 2900 | 4 |
CQB65-50-160 | 32 | 7.5 | ||
CQB65-40-200 | 50 | 15 | ||
CQB65-40-250 | 80 | 22 | ||
CQB80-65-125 | 50 | 20 | 7.5 | |
CQB80-65-160 | 32 | 15 | ||
CQB80-50-200 | 50 | 22 | ||
CQB80-50-250 | 80 | 37 | ||
CQB100-80-125 | 100 | 20 | 15 | |
CQB100-80-160 | 32 | 22 | ||
CQB100-65-200 | 50 | 37 | ||
CQB100-65-250 | 80 | 55 | ||
CQB150-150-200 | 200 | 50 | 55 | |
CQB200-200-400 | 400 | 32 | 1450 | 75 |
CQB型磁力驅動泵適用于石油、化工、制藥、冶煉、電鍍、環保、食品、影視洗印、水處理、國防等行業,是輸送易燃、易爆、揮發、有毒、稀有貴重液體和各種腐蝕性液體的理想設備。適用于輸送吸入壓力不大于0.2MPa,最大工作壓力1.6MPa,溫度不超過100℃,密度不大于1600kg/m3,粘度不大于 30×10-6m2/S的不含硬顆粒和纖維的液體。

型號 | A | AD | B | L | L1 | H1 | H2 | a | A1 | A2 | A3 | H | H3 | H4 | L2 | L3 | L4 | L5 | L6 | h | n-d |
CQB32-20-125 | 125 | 150 | 100 | 458 | 133 | 120 | 90 | 65 | |||||||||||||
CQB32-20-160 | 140 | 155 | 100 | 483 | 143 | 160 | 90 | 65 | |||||||||||||
CQB40-25-105 | 125 | 150 | 100 | 458 | 133 | 120 | 90 | 65 | |||||||||||||
CQB40-25-125 | 140 | 155 | 125 | 508 | 143 | 160 | 112 | 65 | |||||||||||||
CQB40-25-160 | 160 | 180 | 140 | 706 | 230 | 160 | 112 | 80 | 300 | 330 | 360 | 197 | 357 | 342 | 263 | 40 | 120 | 320 | 560 | 75 | 4-ф17 |
CQB40-25-200 | 261 | 210 | 140 | 821 | 275 | 160 | 132 | 80 | 350 | 380 | 410 | 232 | 392 | 415 | 329 | 87 | 160 | 325 | 645 | 50 | 4-ф22 |
CQB50-40-85 | 125 | 150 | 100 | 458 | 133 | 120 | 90 | 80 | |||||||||||||
CQB50-32-105 | 140 | 155 | 125 | 508 | 143 | 160 | 112 | 80 | |||||||||||||
CQB50-32-125 | 160 | 180 | 140 | 706 | 234 | 160 | 112 | 80 | 300 | 330 | 360 | 197 | 337 | 342 | 263 | 40 | 120 | 320 | 560 | 75 | 4-ф17 |
CQB50-32-160 | 190 | 190 | 140 | 800 | 290 | 160 | 112 | 80 | 300 | 330 | 360 | 217 | 377 | 370 | 344 | 43 | 120 | 415 | 655 | 100 | 4-ф17 |
CQB50-32-200 | 216 | 210 | 140 | 817 | 282 | 180 | 132 | 80 | 350 | 380 | 410 | 245 | 425 | 428 | 325 | 43 | 120 | 465 | 705 | 80 | 4-ф22 |
CQB50-32-250 | 254 | 255 | 210 | 987 | 337 | 225 | 160 | 100 | 380 | 410 | 440 | 300 | 525 | 525 | 397 | 55 | 150 | 550 | 850 | 80 | 4-ф22 |
CQB65-50-125 | 216 | 210 | 140 | 836 | 290 | 160 | 132 | 80 | 350 | 380 | 410 | 197 | 337 | 350 | 344 | 40 | 120 | 410 | 650 | 75 | 4-ф17 |
CQB65-50-160 | 216 | 210 | 140 | 836 | 290 | 160 | 132 | 80 | 350 | 380 | 410 | 217 | 377 | 400 | 344 | 40 | 120 | 410 | 650 | 75 | 4-ф17 |
CQB65-40-200 | 254 | 255 | 210 | 962 | 324 | 180 | 160 | 100 | 380 | 410 | 440 | 260 | 440 | 485 | 372 | 54 | 150 | 565 | 865 | 110 | 4-ф22 |
CQB65-40-250 | 279 | 285 | 241 | 1032 | 324 | 225 | 180 | 100 | 380 | 410 | 440 | 300 | 525 | 550 | 385 | 54 | 150 | 565 | 865 | 110 | 4-ф22 |
CQB80-65-125 | 216 | 210 | 140 | 817 | 282 | 160 | 132 | 81 | 350 | 380 | 410 | 217 | 377 | 457 | 325 | 43 | 120 | 465 | 705 | 80 | 4-ф17 |
CQB80-65-160 | 254 | 255 | 210 | 1013 | 350 | 180 | 160 | 100 | 380 | 410 | 440 | 260 | 440 | 485 | 423 | 98 | 210 | 395 | 815 | 90 | 4-ф22 |
CQB80-50-200 | 254 | 255 | 254 | 1086 | 380 | 200 | 160 | 100 | 380 | 410 | 440 | 260 | 460 | 485 | 451 | 50 | 210 | 450 | 870 | 90 | 4-ф22 |
CQB80-50-250 | 318 | 310 | 305 | 1251 | 390 | 225 | 200 | 125 | 470 | 500 | 530 | 320 | 545 | 595 | 476 | 127 | 210 | 490 | 910 | 110 | 4-ф22 |
CQB100-80-125 | 254 | 255 | 210 | 958 | 308 | 180 | 160 | 100 | 380 | 410 | 440 | 260 | 440 | 485 | 368 | 127 | 210 | 400 | 820 | 80 | 4-ф17 |
CQB100-80-160 | 254 | 255 | 254 | 1003 | 308 | 200 | 160 | 100 | 380 | 410 | 440 | 280 | 480 | 505 | 368 | 127 | 210 | 400 | 820 | 80 | 4-ф22 |
CQB100-65-200 | 318 | 310 | 305 | 1262 | 412 | 225 | 180 | 100 | 470 | 500 | 530 | 320 | 545 | 595 | 512 | 141 | 250 | 560 | 1060 | 130 | 4-ф28 |
CQB100-65-250 | 318 | 310 | 305 | 1290 | 412 | 250 | 200 | 125 | 470 | 500 | 530 | 340 | 590 | 645 | 512 | 141 | 250 | 560 | 1060 | 130 | 4-ф28 |

- 2021-04-16重慶中佰泵業立志打造優良排污泵,為社會貢獻力量
- 2021-04-16你的真空泵出問題了?有沒有遇到以下這些故障
- 2021-04-16怎樣安裝齒輪油泵?安裝需求有哪些?
- 2021-01-12重慶中佰泵業——春節放假通知
- 2020-12-31重慶中佰泵業元旦節放假通知
- 2020-10-09液下泵發展前景廣闊,重慶中佰泵業走在行業前端
- 2020-10-09多級泵效率低?建議考慮一下這幾條原因
- 2020-10-09使用潛水泵的三大禁忌,希望你能了解
- 2020-09-25怎樣避免磁力泵空轉?為什么磁力泵會空轉?
- 2020-09-25中佰泵業研發優質供水設備,引領創新市場







